Cathay Pacific aus Hongkong zu den besten Airlines der Welt und schon mit der aktuellen First Class hat man bei seiner Einführung sehr beeindruckt, denn man bietet Sitze, die so groß sind, dass in einer Boeing 777-300er gerade einmal drei Sitze in eine Reihe passen. In 2025 will Cathay Pacific allerdings eine komplett neue First Class einführen und hiermit wieder Maßstäbe setzen.
Zuletzt hat man bereits eine neue Business Class angekündigt und Details verraten. Die neue Business Class soll schon im kommenden Jahr in Boeing 777-300er eingebaut werden, mit der neuen First Class wartet man aber auf die Boeing 777-9X, welche wohl nicht vor 2025 ausgeliefert werden kann und über Details zur neuen First Class schweigt sich Cathay Pacific eigentlich aus.
Nun gibt es aber einige Details zu neuen Cathay Pacific First Class und auch wenn es noch keine Bestätigung aus Hongkong gibt, so gibt es ein Patent, einen Markeneintrag und eine Designstudie eines Sitzherstellers, welche perfekt zusammen passen und die Vermutung liegt nahe, dass es sich hierbei um die neue Cathay Pacific First Class handelt, welche dann wirklich neue Maßstäbe setzen wird.
Die neue Business Class Suite will Cathay Pacific „The Aria Suites“ nennen, aber man hat bei der Anmeldung dieses Namens für die Business Class bei den Behörden auch noch den Namen „The Halo Suites” schützen lassen, welche eine Marke für luxuriösen und First Class Reiseservice sei. Die Vermutung liegt als sehr nahe, dass dies der Name für die neue Cathay Pacific First Class sein wird.

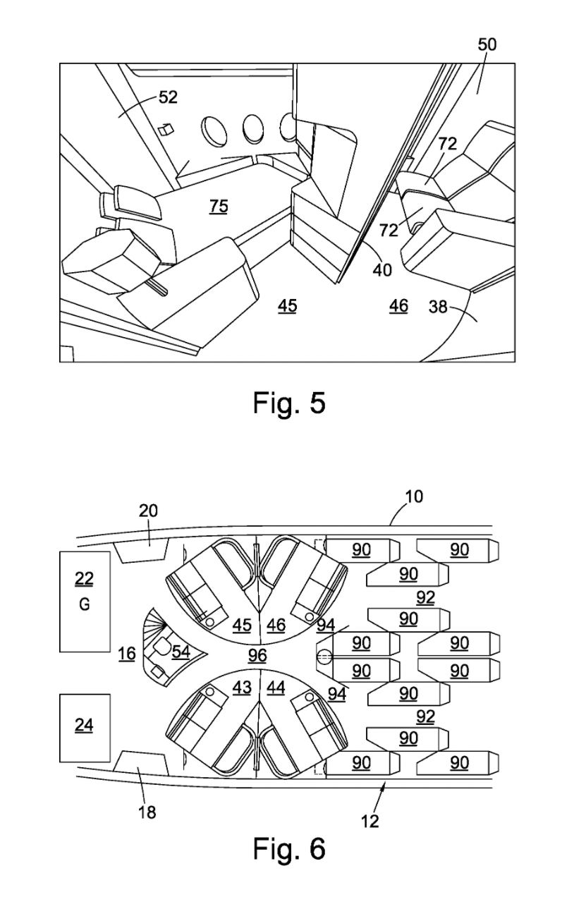
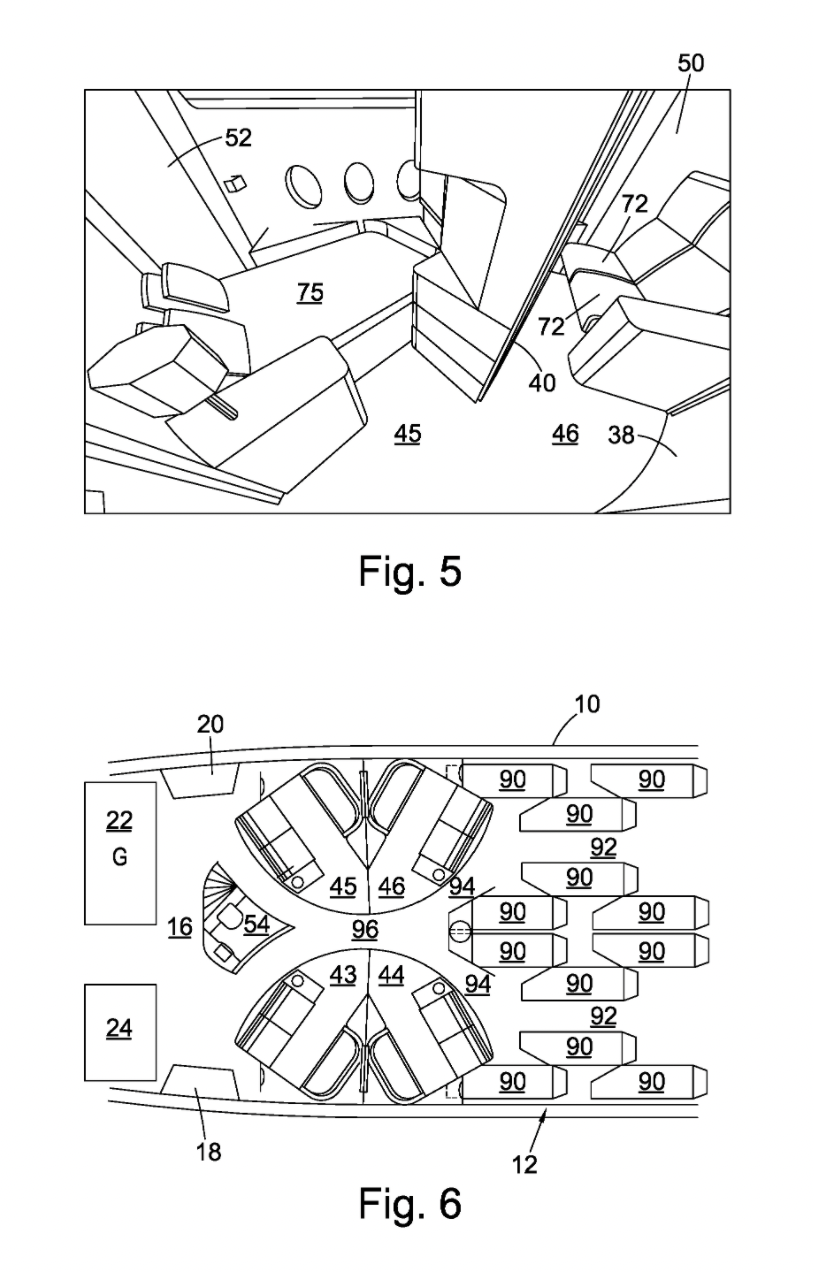
Noch spannender wird es aber mit einem Patent, welches Cathay Pacific 2019 angemeldet hat und in dem sie eine neue First Class für Flugzeuge wie die Boeing 777-9X zum Schutz anmeldet.
In dem Patent zeigt man potenzielle First Class Suiten der nächsten Generation, welche unter anderem auch ein Doppelbett haben.
Was bei diesem Konzept sehr interessant ist, ist das Cathay Pacific nur noch 4 First Class Suiten haben will, aber diese kann man wie bei Lufthansa auch mit zwei Personen belegen, wenn man möchte. So kann man jede Suite entweder alleine oder zu zweit nutzen.
Dazu spricht das Patent davon, dass man zwei Suiten zusammenlegen kann mittels Vorhängen (Fig.8) und es soll eine Suite mit einem Hochbett, z.B. für ein Kind geben (Fig.7)
Tatsächlich gibt es zu diesem Patent auch schon einige Bilder, welche extrem gut passen würden. Diese stammen von Butterfly Flexible Satin Solutions, welche das Konzept Peacock Suites nenne. Tatsächlich geben sie durchaus eine sehr gute Visualisierung, wie sich Cathay Pacific die neue First Class wohl vorstellt.

Erste Details zur neuen Cathay Pacific First Class durchgesickert | The Halo Suites | Frankfurtflyer Kommentar
Tatsächlich ist es sehr gut möglich, dass wir hier schon die neue Cathay Pacific First Class sehen können. Sie wird sicherlich nicht exakt so aussehen wie auf den Bildern und dass man das Hochbett genehmigt bekommt, kann ich mir fast nicht vorstellen, zumal sich hier die Frage stellt, wo hier ein Kind bei Start und Landung sitzen soll. Aber in den Grundzügen könnte es tatsächlich die neue Cathay Pacific First Class sein.
Dabei finde ich dieses Konzept auch durchaus ansprechend und könnte es mir sehr gut vorstellen. Cathay Pacific würde hiermit auf jeden Fall den Platz an der Weltspitze unterstreichen und den absoluten premium Anspruch, den man in Hongkong hat, erhalten.
Danke: OMAAT




Travel in Style. Das hat was!
Ich sehe es wieder… Bis Allegris „bei uns“ tatsächlich eingeführt wird, wird es wieder obsolet aussehen 😏
SQ business von vor 10 Jahren ist besser als Alegris.